Journal of Northeastern University(Natural Science) ›› 2026, Vol. 47 ›› Issue (1): 131-137.DOI: 10.12068/j.issn.1005-3026.2026.20240130

• Materials & Metallurgy • Previous Articles     Next Articles

Effect of Structural Parameters of Integral Spiral Finned Tube Bundles on Heat Transfer Characteristics

Dan-feng ZHANG1,2, Hui DONG1,2(), Liang ZHAO1,2   

  1. 1.School of Metallurgy,Northeastern University,Shenyang 110819,China
    2.Liaoning Engineering Research Center of Process Industry Energy Saving and Low-Carbon Technologies,Northeastern University,Shenyang 110819,China.
  • Received:2024-06-07 Online:2026-01-15 Published:2026-03-17
  • Contact: Hui DONG

Abstract:

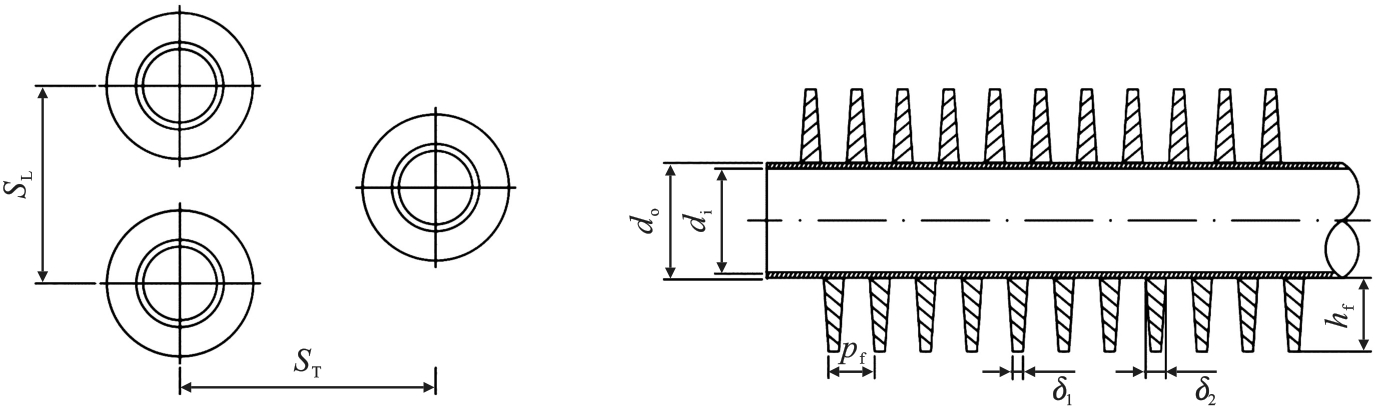
To investigate the influence of structural parameters on the heat transfer characteristics between integral spiral finned tube bundles, 13 groups of such tube bundles with varying structural parameters were designed and fabricated. A 1∶1 experimental bench for heat transfer characteristics was established to conduct experimental research on the heat transfer characteristics of these tube bundles. The findings indicate that the Nusselt number (Nu) on the gas side of the tube bundles improves with an increase in flue gas velocity, fin height, fin pitch, and longitudinal pitch within the production’s adjustable range. Conversely, the transverse pitch does not significantly affect the Nu on the gas side of the tube bundles. Based on the experimental data, a correlation equation describing the Nu on the gas side of the integral spiral finned tube bundles is proposed, providing a theoretical foundation for subsequent research on the optimization of numerical calculations of the thermal parameters of these tube bundles.

Key words: heat recovery steam generator, economizer, integral spiral finned tube bundle, heat transfer characteristic

CLC Number: